原標題:三星年內要出折疊手機 不止是柔性屏幕
之前我們曾經三星曾經曝光過有關于年內要推折疊手機的消息,三星一直希望使用柔性OLED面板制作可折疊智能手機,為此他們還成立了一個名叫Project Valley的項目組。在此期間,我們時不時地會看到他們所開發的可折疊手機專利。而在最近,這個項目又有了新的進展,又有一項新的類似專利遭到曝光,換句話說距離折疊手機的推出又更進了一步。

三星年內要出折疊手機




三星折疊手機概念圖曝光
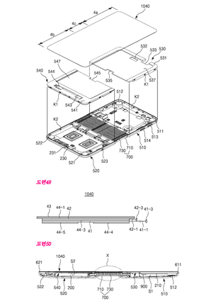
最新曝光的這項專利實際上已經處于相當高級的研發階段。三星的設計看上去極為復雜,不僅采用了柔性顯示面板,還可通過一種巧妙的機械設計讓用戶將設備對折。這種工程量恐怕也只有三星和蘋果這種擁有強大實力和資源的公司才能做到。
除了介紹機械合頁的細節之外,專利所展現的手機設計看上去相當完整,我們可以看到熟悉的電源鍵、音量鍵和攝像頭位置,但卻沒有Home鍵。手機上還有兩個磁力螺栓,用來在折疊狀態下固定手機。
雖然目前還沒有確切的消息,但三星的確可能會在今年晚些時候推出一部可折疊智能手機。至于專利當中的設計是否會成為現實,這就很難說了。
→→韓品速遞相關新聞